Svetlosni signali
Svetlosni signali su uređaji koji i danju i noću daju signalne znake obojenom svetlošću (jednoznačne ili dvoznačne signalne znake). Svetlosni signali mogu biti:
- Glavni signal sa dve, tri ili četiri svetiljke
- Predsignali i ponavljači predsignalisanja
- Signali na putnim prelazima
- Pokazivač za brzinu, za pravac, kolosek i za polazak voza
- Reonski manevarski signali
- Granični kolosečni signali
- Manevarski signal za zaštitu kolosečnog puta vožnje
- Kontrolni signali za automatske uređaje na putnim prelazima
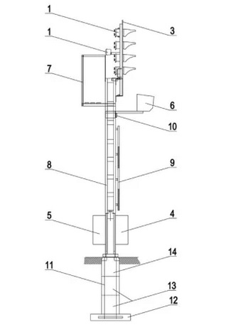
* 1. Priključna kaseta 2. Signalna svetiljka 3. Signalna ploča 4. Signalni stubni orman 5. Orman indikatora pravca/brzine 6. Indikator pravca/brzine 7. Radna korpa 8. Signalni stub U8 9. Ploča uočljivosti 10. Oznaka signala 11. Anker vijak 12. Temelj donji 13. Temelj srednji 14. Temelj gornji
Glavni signali
Svetlosni signali postavljaju se tako da njihove signalne ploče koje nose svetiljke, leže u ravni normalno na kolosek. Signalna ploča sa svetiljkom može se zaokrenuti za izvesni ugao prema stanju na terenu, a za samu signalnu svetiljku ugrađenu na signalnu ploču moguće je regulisati položaj u svim pravcima radi pravilnog usmeravanja svetlosnog signala. Glavni signali služe za davanje potrebnih naređenja ili saopštenja o zabrani ili dozvoli za dalju vožnju voza. Najmanja daljina vidljivosti glavnih signala definisana je najvećom dopuštenom brzinom kretanja voznih sredstava na pruzi (za 160 km/h – 500 m). Ugrađeni svetlosni signal sa temeljom, mora da bude stabilan i da izdrži dejstvo vetra brzine 150 km/h, bez pojave trajnog pomeranja i trajnih deformacija.
Proizvodi se u varijantama:
Signal sa 2, 3 ili 4 svetiljke, standardni ili tunelski tip.
Granični kolosečni signal
Granični kolosečni signal služi za podelu glavnog koloseka na ograničene odseke puta vožnje ili za označavanje kraja glavnog koloseka, koji nije opremljen glavnim signalom i za označavanje kraja slepog koloseka (grudobrana). Sastoji se iz signalne kutije koja sa prednje strane nosi 4 svetiljke, od kojih su dve crvene, postavljene vodoravno u istoj ravni i dve mlečno bele postavljene koso s leva na desno. Svetiljke ( sa sijalicama 30 V, 15 / 15 W) imaju senilo i prečnika su Ø70. Signalna kutija omogućava regulaciju i optimalno usmeravanje signala. Granični kolosečni signal se postavlja na stub sa penjalicom, a ovaj na standardni temelj sa pričvrsnim priborom.
Signalni znak 78
Signalni znak 78 služi za davanje signalnog znaka polaska voza. Ovaj signalni znak je krug od svetlećih zelenih signalnih sijalica. U krugu je rasprostranjeno 12 sijalica vezanih u dva odvojena strujna kola. Jedno strujno kolo od 6 sijalica čini šrafiran krug, a drugo strujno kolo od 6 sijalica čine nešrafirano kolo. Ovaj signalni znak postavlja se na stub izlaznog signala ispod signalne ploče ili na poseban stub.
Manevarski signal
Manevarski signal za zaštitu kolosečnog puta, pokazuje da li je iza ovog signala dozvoljena odnosno zabranjena manevarska vožnja. Sastoji se od dve svetiljke prečnika Ø70, gornja crvena a donja bela. Kućište signalne svetiljke omogućuje usmeravanje signala oko vertikalne ose do 30% na obe strane. Svaka svetiljka ima senilo. U kućištu manevarskog signala smešteni su elementi za merenje i regulaciju struje signalnih sijalica. Signal se postavlja na standardni betonski temelj, a gornja ivica temelja je 60mm ispod GIŠ-a (gornje ivice šine).
Pokazivač pravca, koloseka i brzine
Svojom signalizacijom dopunjavaju i bliže određuju namenu glavnih signala i predsignala. Ugrađuju se ispod signalne ploče glavnog signala, odnosno predsignala, na signalnom stubu. Sastoji se od kućišta, sijalične ploče i do 35 signalnih sijalica raspoređenih po potrebi.
Signalna svetiljka – laterna
- Signalna svetiljka – laterna
- Signalna svetiljka C25231–A2–A1 je naročito pogodna za svetlosnu signalizaciju na železničkim i pomorskim sistemima gde je neophodna velika daljina uočljivosti.
- Vodootporno kućište je od silumina sa ravnim zadnjim poklopcem, opremljeno sa bravom i 2 krilna zavrtnja. Nivo zaštite je IP55 do DIN 40050.
- Odlična vidljivost po danu ili po noći osigurana je upotrebom optičkog sklopa sa punim sočivom velike optičke moći i regulacijom struje sijalice za dan/noć.
- Optički sklop sa punim sočivom upotrebljiv je za sve radne uslove uz upotrebu filtarskih i rasipnih stakala.
- Kao izvor svetlosti koristi se sijalica sa dva vlakna koja je direktno implementirana u kolo kontrole ispravnosti rada signalne svetiljke.
- Pojava „fantomskog“ signala (svetlosti) eliminisana je upotrebom specijalno oblikovanih poklopaca – senila i 15 stepeni nagiba (na gore) zaštitnog stakla signalne svetiljke.
- Težina svetiljke je 9 kg; na kućištu se nalaze tri tačke oslonca za pričvršćenje i sa mogućnošću usmeravanja pomoću nosećih vijaka.
Proizvodi se u varijantama:
-
Parabolično brušeno i ispolirano čvrsto sočivo, prečnika 136 mm
-
Sijalično grlo otporno na mehaničke potrese
-
Sferno ogledalo
-
Filtarsko (obojeno) staklo
-
Rasipno staklo
-
Zaštitno staklo
-
Nosač durbina za usmeravanje
Sijalice koje mogu da se upotrebe za signalne svetiljke
- Sig 1206 (12 V 6 W)
- Sig 1230 (12 V 30/30 W)
- Sig 1820 (12 V 20/20 W)
- Sig 3015 (15 V 15/15 W)